|
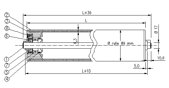
Stålrulle 11.089.017.2745 (2744C)
|
 |
| ' |
| INDEX |
BESKRIVELSE |
| 1 |
Aksel ø17 mm centerlessslebet stål |
| 2 |
Rør Stålrør 89 x 6.3 mm DIN 2458 |
| 3 |
Nav komposit |
| 4 |
Fedtkapsel komposit |
| 5 |
Præcisionskugleleje type 6203 |
| 6 |
Labyrinttætning, indvendig part |
| 7 |
Labyrinttætning, udvendig part |
| 8 |
Smørenippel D1-A6-ø |
|
|
|
|