ÅRHUSVEJ 18
DK 8362 HØRNING
TELEFON 8692 1093
TELEFAX 8692 4293
E-mail
FORSIDE
ORIENTERING
TRANSPORTRULLER
STÅLRULLER (11)
ALUMINIUMRULLER (14)
RUSTFRI STÅLRULLER (13)
EASY ROLLER PVC (23)
EASY ROLLER RUSTFRI (24)
KONUSRULLER (21)
PVC RULLER (15)
PEH RULLER (18)
INDVENDIGT GEVIND (22)
RULLEBANESVING (46)
HJULBANER (41)
STYRERULLER (31)
STYRESTEL (34)
SPRINGAKSEL (25)
AKSELENDER (30)
STÅLKUGLERULLER (74)
ENDENAVSKÆDEHJUL (26)
PLADEKÆDEHJUL (28)
RULLESTEL (32)
RULLEBANER (48)
KÆDEBANER (45)
BESLAG (36) (38)
BELÆGNINGER (85)
RINGE PÅ RULLER (86)
AFSKRABERE (54)
LØFTEBORDE - og VOGNE (81)
LØFTEBJØRNE (84)
TROMLEMOTORER (87)
FREKVENSOMFORMERE (88)
FJERNSTYRING (89)
HJUL (40)
VEDLIGEHOLDELSE
OMTALE
*
BILLEDGALLERI
OVERSIGT
*
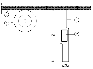
Afskraber serie 8100 - PU-bjælke
Oversigt Afskrabere
Sortiment
Art nummer
Båndbredde
Skrabebredde
Vægt
8104
400
350
1,9 kg
8105
500
450
2,4 kg
8106
650
550
3,0 kg
8108
800
700
3,7 kg
8110
1000
900
4,8 kg
8112
1200
1100
5,9 kg
8117
Hellængde
1700
9,0 kg
Alle mål i mm
Del af tegning nummer 54.000.000.8100
1
Afskraberliste.
2
Firkantrør i afskraberliste. 15x35 mm indvendig
3
Fladjern for fastgørelse på transportørstativ
5
Returrulle. Afskraber kan monteres som erstatning for en returrulle
7
Returbånds underside
8
Returbånd