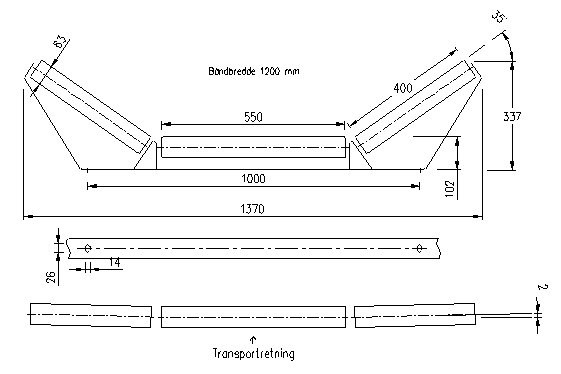
Rullestel med 3 ruller - tegn. nr. 32.003.063.1200 Retur Forside * Retur Rullestel hovedoversigt * Retur oversigt 3-rullestel
Alle mål i mm