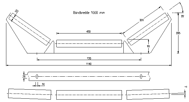
Rullestel med 3 ruller - tegn. nr. 32.003.050.1000

Retur Forside * Retur Rullestel hovedoversigt * Retur oversigt 3-rullestel

 Alle mål i mm