MASTERROLL A/S * Århusvej 18 * DK 8362 Hørning * Telefon 8692 1093 * Telefax 8692 4293 * e-mail
FORSIDE

Oversigt Afskrabere

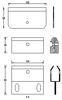
Afskraber serie 8000

Finskraber
 

Del af tegning nummer 54.000.000.8000

Sammensætning til aktuel båndbredde, her med sidestyrruller..

  Komponentoversigt
1 Finskraber serie 8000, 6 stk. Antal afpasses båndbredde
2 Bjælke monteret med finskrabere
3 Bjælkestump for montering på transportørstel
4 Returbånd. Bjælke med finskrabere monteres ca. 200 mm efter drivtromlens centrum
5 Eksempel på montering af sidestyrrulle til hindring af båndkantens nedbøjning, hvilket kan medføre båndhavari.